近期双色球全线阵亡

初恋留步

论坛金吊桶
荣誉会员
注册
2006-09-24
消息
7,392
反馈评分
4
点数
61
年龄
14
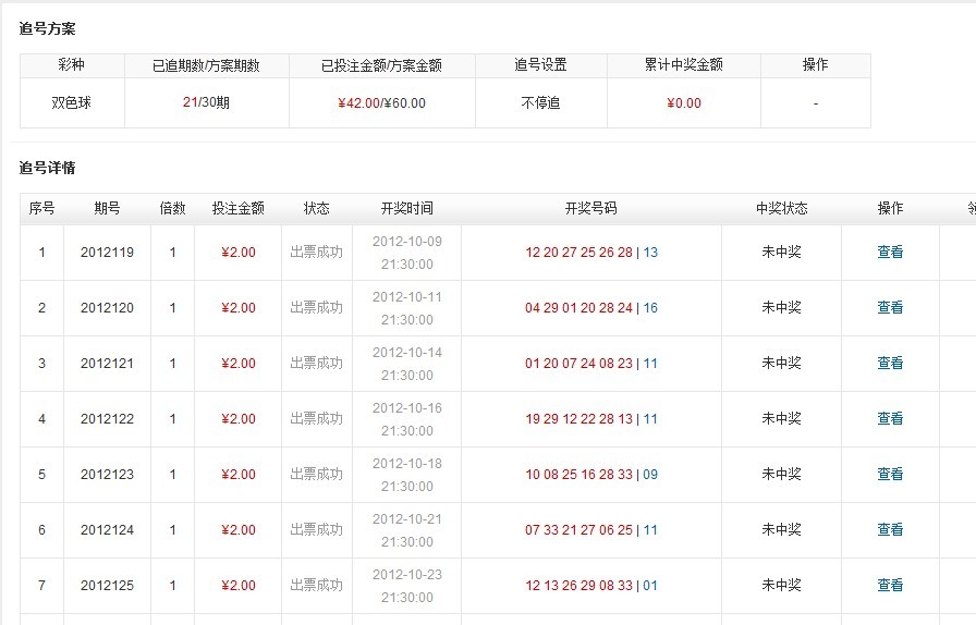
前一个月花了狠心花了一个月早餐钱60大洋买了30期的双色球
今天一看,全线阵亡
吊妖,这个月没早餐吃了
 

附件

  • 未命名.jpg
    未命名.jpg
    85 KB · 查看: 267
  • 未命名.jpg
    未命名.jpg
    95.6 KB · 查看: 245
good evening,ladies and gentlemen,welcome to 2012“沃德爱礼”Annual meetin
 
下个月花午餐钱再买过
 
午餐不用钱,吃大锅饭
 
那晚餐吧
要不宵夜
再不行还是用早餐钱吧
 
晚餐也是大锅饭
宵夜最近戒了
宵夜的钱用来交网费了
 
早餐的钱已透支,,,
 
这个月的透了
支下个月的去
下个月的支了
透下下个月的
以此类推
总会有早餐钱的
 
那也是的
反正世界末日要到了
 
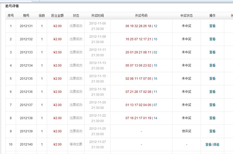
开了,,,还是没中
 
QUOTE(一丁点肥肉都不敢吃 @ 2012年11月25日 Sunday, 04:35 PM)
没开.
[snapback]3447281[/snapback]​


还没到点,,现在才7点10
 

正在浏览此帖子的用户

后退
顶部